Peter L. Jensen and the Magnavox Loudspeaker

Pridham (L) and Jensen in the Napa lab, photo from Shepherd article
Peter L. Jensen was born in 1886 in Denmark. He began working in the laboratory of Valdemar Poulsen soon after Poulsen's public demonstration of the telegraphone at the 1900 Paris Exhibition. Jensen helped Poulsen develop his continuous wave arc transmitter that made voice transmissions from a radio station at Lyngby near Copenhagen in 1905. Jensen came to America in 1909 to help develop the Poulsen Wireless Telephone and Telegraph Company financed by Pal Alto investor Cyril F. Elwell to compete with General Electric's system based on the Fessenden patent. While building a radio station in Sacramento, he met Edwin S. Pridham who had an electrical engineering degree from Stanford and was working for the Elwell company. Pridham helped Jensen learn English and American history. When the Elwell company was reorganized into the Poulsen Wireless Corp. and the Federal Telegraph Corp., Pridham and Jensen left and joined the new Commercial Wireless and Development Company of Richard O'Connor, supporter of Gov. Hiram Johnson. Jensen and Pridham moved to Napa Feb. 22, 1911, and began a small research laboratory. They experimented with Poulsen's arc radio transmitter, adding thicker wires connected to a diaphragm, and putting a coil of copper wire between magnets. They made a working model of what they called the "electro-dynamic principle" for voice reproduction, and applied for a patent. However, the patent application was rejected
Pridham's patent
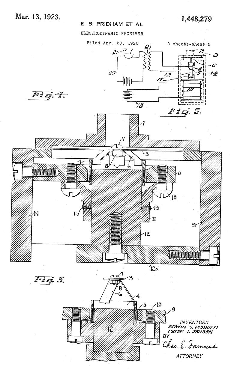
because the magnetic coil principle was already well-known. They were granted a patent on their specific mechanism, but were unable to attract interest from the big companies such as AT&T, Victor, or Columbia. Patent No. 1,448,279 was filed April 28, 1920, and granted March 13, 1923. At the suggestion of Jensen's wife's uncle, they decided to put a old gooseneck horn from an Edison phonograph on their device and sell it as a public address system. They called it a "Magnavox" rather than a loudspeaker and by 1915 had made improvements. They made their first public demonstration in Golden Gate Park Dec. 10, 1915, and another Dec. 25 playing music in front of San Francisco City Hall to a crowd of 100,000. On Dec. 30, they broadcast a speech by Gov. Johnson from his home to the San Francisco Civic auditorium. They gained rights to use the de Forest audion tube, but not the more powerful vacuum tube that AT&T would develop from the audion. It was this vaccuum tube that made possible the international radio transmission between Paris and Virginia and Honolulu in 1915. Jensen and Pridham merged with the Sonora Phonograph Corp. and formed the Magnavox Company in San Francisco Aug. 3, 1917. In World War I, the company developed anti-noise and waterproof telephones for the military. In 1919, they provided loudspeakers for a speech by Woodrow Wilson in San Diego, and Magnavox gained national attention. Its speakers were used in the 1920 political conventions, by the campaigns of James Cox and Warren Harding, and at the March 4, 1921, Harding inauguration. But AT&T dominated public address system technology, especially after the 1921 Armistice Day demonstration, and Magnavox shifted its focus to radio and phonographs. Jensen left the company in 1925 and founded the Jensen Radio Manufacturing Co. in 1927, moved it to Chicago, and made imporved loudspeakers with the help of engineer Hugh Knowles. He resigned in 1943 and later founded Jensen Industries. He died of lung cancer in 1961.

Sources:

1921 Magnavox Horn
R2B from Radiola Guy
Pridham's patent p. 2
from USPTO
Pridham's patent p. 3
from USPTO
Pridham's patent p. 4
from USPTO
Pridham's patent p. 5
from USPTO


© 2001 by Steven E. Schoenherr. All rights reserved.

Return to Recording Technology History Notes | Loudspeaker History| this page revised Jan. 15, 2001