Sound Recording Research at Bell Labs

1915 - AT&T inaugurated the first transcontinental telephone service for San Francisco World's Fair, made possible by the new vacuum tube amplifier developed
Arnold's 1914 tube,
from Fagen 1975
by Harold D. Arnold at what would become Bell Labs (see Evolution of Bell Labs for the changing names and corporate structure of the Labs). Arnold had been one of the first to recognize the significance of Lee de Forest's audion tube as a way to amplify telephone signals. After John Stone from the Boston Bell Labs arranged a demonstration of the de Forest tube Oct. 30, 1912, Arnold started his amplifier research project. Using a vacuum pump from Germany, he discovered that removing the air from the tube greatly increased the flow of electrons across the grid electrodes. He built the first amplifying vacuum tube Oct. 18, 1913, and began to install the tubes in telephone amplifiers for long line transmission. Arnold also began a long-term research program to improved the quality of telephone sound, "to get an accurate physical description and a measure of the mechanical operation of human ears in such terms that we may relate them directly to our electrical and acoustical instruments..." (Arnold quoted in Fagen 1975 p. 929). Arnold's program marked a new direction in the "Grand System" of Alexander Graham Bell that would lead to a revolution in sound recording.

1916 - Harvey Fletcher joined the Research Division of Western Electric Engineering Dept to work with Irving Crandall on hearing and speech, was director of acoustic research at Bell Labs 1927-49, built the Western Electric Model 2A hearing aid and a binaural headset in the 1920's, published the widely-read book Speech and Hearing in 1929 that analyzed the characteristics of sound. Fletcher would lead much of the research on binaural, or what later would be called "stereophonic" sound recording, at Bell Labs.
condenser mic from
Physical Review 1917

1916 - E.C. Wente at Bell Labs developed the condenser microphone to translate soundwaves into electrical waves that could be transmitted by the vacuum tube amplifier. His patent 1,333,744 entitled "Telephone Transmitter" was filed December 20, 1916 and granted March 16, 1920. The device used two condenser plates, one of which was a very thin steel diaphragm .002-inch thick, spaced .001-inch from a large backplate. In his 1917 article, Wente explained "The general construction of the transmitter is shown in Fig. 2, from which the principal features are evident. The diaphragm is made of steel, 0.007 cm. in thickness, and is stretched nearly to its elastic limit. The condenser is formed by the plate B and the diaphragm. Since the diaphragm motion is greatest near the center, the voltage generated, which is proportional to C1/C0, will be greatest if the plate is small." This produced a flat response to 15,000 cycles in the lab. Wente continued to improve the microphone.
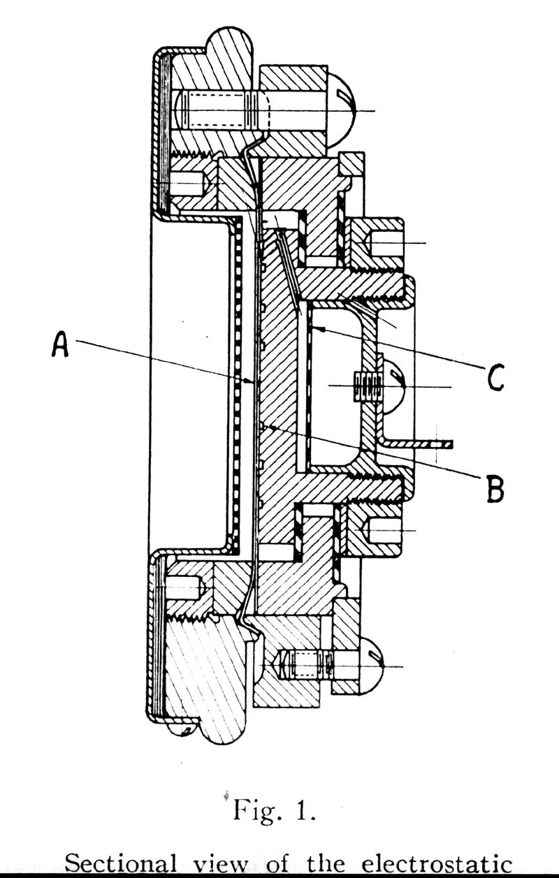
condenser mic from
Physical Review 1922
In his 1922 article, he explained,"A sectional drawing of the transmitter is shown in Fig. 1. The transmitter differs from the instrument previously described in several essential respects. The diaphragm, A, is made of 0.002 inch (0.0051 cm.) steel and is stretched so that its natural frequency in free air is 7,000 cycles per second. Annular grooves are cut into the face of the back plate, B, to give the diaphragm the desired natural frequency and damping. The length of the air-gap is 0.001 inch (0.0025 cm.). To keep out moisture, the space surrounding the back-plate is sealed off completely from the outside air. A thin rubber diaphragm, C, is provided to keep the pressure on the two sides of the steel diaphragm substantially equal under all conditions of temperature and atmospheric pressure." Wente made more improvements in 1923: "By a change in the dimensions of the film of air and by the substitution of a duralumin for a steel diaphragm in 1923 a condenser microphone was produced which had a sensitivity 100 times as great as that of previous models. This microphone was sufficiently sensitive to permit the pickup of ordinary sounds at a distance without interference from noise voltages generated in the amplifier, whereas the use of the older models under such circumstances would have been impractical." In 1926 this improved model was sold as the Western Electric 394-W microphone for sound motion picture production.

1918 - Henry Egerton patented on Jan. 8 the first balanced-armature loudspeaker driver, based on the 1882 balanced armature telephone patent of Thomas Watson, and used in the Bell Labs No. 540AW speakers developed by N. H. Ricker Oct. 6, 1922.

1921 - The amplifier, microphone, loudspeaker innovations were combined to create the first public address systems. The largest public demonstration of such as system took place on Armistice Day for the national broadcast of the burial of the Unknown Soldier at Arlington Cemetery, heard over 80 loudspeakers linked by telephone lines in New York, San Francisco, and Arlington. By the next year, standardized p.a. systems were introduced.

1923 - Wente developed the light valve in patent 1,638,555 entitled "Translating Devices", filed May 1, 1923 and granted August 9, 1927. This ". . . . relates to translating devices and has for its object to vary the intensity of a beam of light in response to variations in an electric current." Wente placed a pair of stretched conductors forming a closed loop in a strong magnetic field. Alternating electric currents (representing the signal) passing through the conductors caused them to open and close the slit formed between them. A light beam directed through the slit could then be modulated to form a light record on a moving photographic film. This record could be a sound track or picture elements in a transmission system.

1925 - Henry C. Harrison at Bell Labs developed a matched-impedance recorder to improved the frequency range from the previous narrow 250-2,500 cycles range of acoustic recorders to a wider range of 50-6,000 cycles using the condenser mic, tube amp, balanced-armature speaker, and a rubber-line acoustic recorder with a long tapered horn. This system was licensed to the Victor Talking Machine Co. that used it in April to make the first electrical recording of the Philadelphia Orchestra conducted by Leopold Stokowski. The new system was sold in October by Victor as the Orthophonic phonograph capable of playing back acoustically-produced and electrically-produced records.

1926 - Wente developed the moving coil speaker, the Western Electric No. 555 Receiver (Horn driver) is described in patent 1,707,545 entitled "Acoustic Device", filed August 4, 1926 and granted April 2, 1929 . . . ." An object of the invention is to receive and transmit sound with high and uniform efficiency over a wide frequency range." Wente employed a moving coil/diaphragm mechanism moving in a strong magnetic field. It was designed to drive a theater horn and was rushed to the August 6 premier of Don Juan. The important feature was a conical plug in front of the diaphragm which shaped the expanding sound passages from an annular opening at the periphery to a circular aperture at the exit where an exponential horn was to be attached. This provided a fairly efficient transfer of sound from driver to horn with good fidelity at levels required in the theater. The development of the "555" receiver is shared with A. L. Thuras who filed on other aspects as described in patent 1,707,544 with simultaneous dates.

1928 - Wente and A. C. Thuras developed a moving coil, or "dynamic," microphone described in patent No. 1,766,473 entitled "Electrodynamic Device" filed May 5, 1928, and granted June 24, 1930. Thuras filed patents 1,847,702 and 1,954,966 and 1,964,606 in 1931 and 1932 for commercial models of this microphone.

1931 - in April, Leopold Stokowski invited Bell Labs to begin sound recording experiments with his Philadelphia Orchestra. After a series of disappointing radio broadcasts by NBC of his orchestra in 1930-31 that failed to achieve the high quality of reproduction Stokowski was seeking, he helped Bell Labs set up a test room at the Academy of Music in Philadelphia. Arthur C. Keller installed a vertical-cut recorder equipped with a new moving coil pickup with sapphire stylus that extended the dynamic range to 10,000 cycles. Surface noise was reduced by coating the wax master with gold film and a layer of electropated copper, and making the duplicate release copies pressed on ceullulose acetate rather than shellac. In December, the first electrical recordings were made and continued throughout the 1931-32 concert season. 125 of these test recordings have been preserved (a limited edition album of these masters was released in 1980 by Bell Labs).

1932 - in March, several test recordings were made at the Academy of Music using two microphones connected to two styli cutting two tracks on the same wax disk. On March 12 Stokowski recorded his first binaural disc, Scriabin's "Poem of Fire." This recording is the earliest example of stereophonic recording that has survived, although it was not called "stereo" at that time. Keller had apparently made similar dual recordings in New York in 1928 but were lost; Alan Blumlein made his "stereo" recording of Thomas Beecham and the London Philharmonic in January 1934.

1933 - first public stereo transmission over telephone lines of a concert conducted by Alexander Smallens in Philadelphia to an audience in Constitution Hall in Washington, D.C. on April 27, using a 3-channel system of microphones, amplifiers, loudspeakers and telephone lines. The test was a success , but FM would be used for high-fidelity music broadcasting, not telephone lines.

References:


© 1999 by Steven E. Schoenherr. All rights reserved.

Return to Recording Technology History Notes | this page revised 1/9/2000